进口燃气紧急切断阀概述:
德国多尔德DOLDR进口燃气紧急切断阀是一种用于燃气管道系统中的安全配套装置。在设备故障、腐蚀破坏、密封失效,或紧急时,可以快速关闭,切断燃气等介质,避免事故范围扩大,控制事故影响,减少事故损失。
进口燃气紧急切断阀通常与可燃气体泄漏监测仪器、热力设备的极限温度(或压力)安全控制器、高层建筑的中央消防报警系统等相连接,实现自动快速关闭主供气体阀门,及时制止恶性事故的发生。

这种阀门有很多优点,如密封独特,严防泄漏;活塞结构,瞬间通电,快速关闭;具有信号反馈功能,当阀打开时,信号公共线和开信号线接通,当阀关闭时,信号公共线和关信号线接通;还具有手动功能,安全阀需要关闭时,旋下手动防护罩,用力按手动柄,阀即可关闭。
进口燃气紧急切断阀的参数包括:
工作压差:0~0.05Mpa
工作介质:煤气、天然气、液化石油气等无腐蚀性气液体
关闭时间:<1秒
介质温度:-15℃~60℃
打开方式:手动复位或电动复位
电源电压:AC220VA、DC24V、DC12V
安全等级:普通型、Ex型
控制方式:不间断输出或脉冲式电磁力
工作环境:-30℃~+80℃ 或 -50℃~+100℃
线圈工作温度:<+50℃ 或 <+85℃
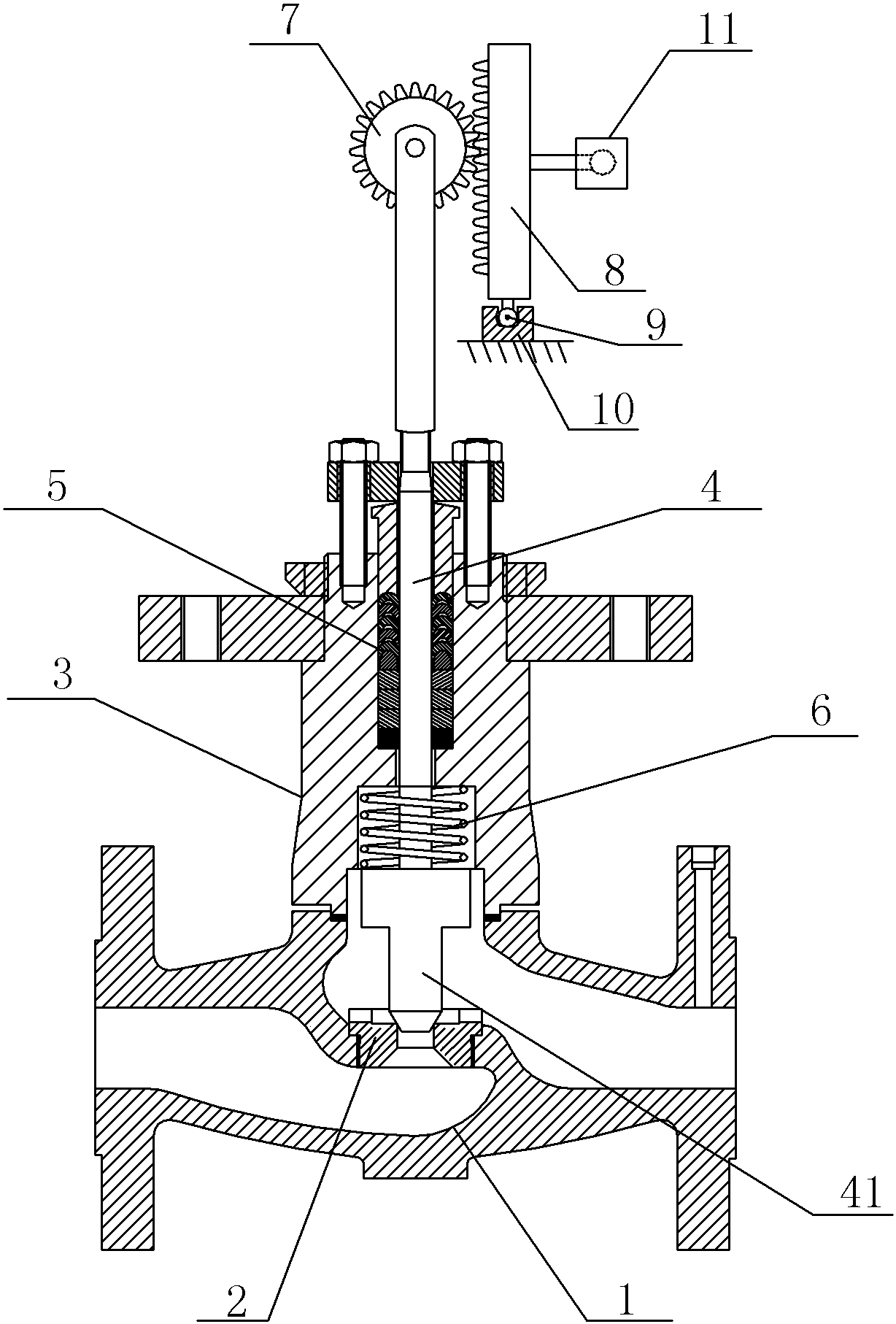
进口燃气紧急切断阀结构图:

在使用过程中要注意一些问题,比如电磁阀水平安装最佳,如需垂直安装,要特别提出;在安装时还要与可燃气体泄漏监测仪器、热力设备的极限温度(或压力)安全控制器等相连接;电磁阀如出口压力大于进口压力,阀将反向导通,此时应安装止回阀;介质中有杂质,请安装过滤网30-100目/寸。


全国服务热线



